Configuration Novatec X-line
Novatec
X-line Models:
65BDL6005X
55BDL8005X
55BDL8007X
49BDL2105X
55BDL2105X
55BDL3207X
55BDL4107X

Any
source input will be available at the display port (DP) output of the monitor.
Set the
first monitor to your source input (VGA, DVI, OPS, DP, HDMI 1 or 2) and set all
the other monitors on DP source.

During the installation we recommend to flash the latest firmware on the displays
As this require a USB Drive, it's best to do this individually first before mounting the screen in video wall setup.
1. Video wall cabling:
Daisy
chain all the signal cables:
- Control
In-Out (RJ45 cable), those are the RS232 & IR signals.
- Display
port (DP).
- Connect
the external IR receiver to the first monitor ( this will disconnect the
Control In line).
Above cables are delivered with the monitor.
- The
RJ45 IN-OUT can optional be daisy chained, this depends how you want to control
the monitors via the network, see further in this document.
Note: the AC
output may only be used to connect a small player/PC, do NOT connect this to any
monitor.

It’s possible to connect another source (player)
to any of the screens and only display the players content on the connected
screen without interrupting the DP chain content.
Monitor 1,2 &
3 are on DP source input, monitor 4 on HDMI input.
The source daisy chain can be set in
the tiling menu:
“Output content”: “Current Video” or
“Display Port”
Max
video input:
Max video input
resolution: 4K60Hz from HDMI, DP and OPS.
Max
number of monitors in the daisy chain:
Without
HDCP content:
| Max number of monitors without HDCP
content |
HDMI / OPS / DP/ DVI input | 25 |
| |
With
HDCP content:
| Max number of monitors with HDCP
content |
HDMI/OPS input | |
HDCP 2.2 | 4 |
HDCP 1.4 | 7 |
DP
1.2 input | |
HDCP
2.2 | SST | 4 |
MST | 4 |
HDCP
1.4 | SST | 7 |
MST | 4 |
MST= multi stream video
SST = single stream video
2. Optional android video wall

Embed an
Android System-on-Chip (SoC) into your videowall. The optional CRD50 module is
an OPS device that enables Android processing power without the need for
cables. Simply slide into the OPS slot, which contains all the connections
needed to run the module (including power supply).
Insert
the CRD50 in the first monitor, the content will be displayed on the other
monitors via DP daisy chain.
TeamViewer
is preinstalled, see your content and control your videowall over the internet.
Other
supported (video sharing) apps can be installed.
Change
the “color space” in the picture menu setting in the picture menu from “Auto”
to RGB video
on the
first monitor only.
Press
“home” on the remote, this will display the menu on all the monitors.

Select
configuration 1

Set “Switch
on state” = Forced on (all the
monitors).
Set ”boot
on source”:
Set the first monitor to the connected source
input, all the other monitors to DP.
Select “Advanced
option”, set every monitor:
Power save = mode 4 (= monitor will not switch
off if there is no signal).
Monitor ID:
Select monitor ID.
Each monitor must have an unique monitor ID
number:
Monitor 1 : Monitor ID = 1
Monitor 2 : Monitor ID = 2
Monitor 3 : Monitor ID = 3
Monitor 4 : Monitor ID = 4 etc...
This can be done automatically or
manually
Automatically:
Press home on the RC, select
“Advanced option”, select “tiling”, set the “H monitors” and “V monitors” correct.
Select auto ID > select start and
press ok on the remote control but make sure you execute the auto ID
only on the
first monitor and not on any other screen otherwise it won’t work.
You can do
this by disconnecting the “Control” cable before you enter the menu, connect
again the “Control” cable once the auto ID menu is displayed on the first
monitor only and now execute the Auto ID.
Now all the monitors should have an
unique monitor ID number.
Manually:
Press home on the RC, select
“Advanced option”, select monitor ID, set the correct number on each monitor.
The monitor ID numbers can also be
changed via the keyboard up/down buttons at the back of the monitor.
Monitor 1 : Monitor ID = 1
Monitor 2 : Monitor ID = 2
Monitor 3 : Monitor ID = 3
Monitor 4 : Monitor ID = 4 etc...
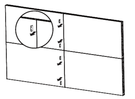
The numbers must be as in below picture ( like
writing a letter).

Select “tiling”:
Enable = ON
Frame comp. = set frame compensation
on (see differences in below picture):
Set Frame Comp Top, Bottom, Left
& right so that you have a correct
bezel (frame) compensation.
H
mon = to the number of monitors in horizontal direction.
V
mon = to the number of monitors in vertical direction.
position:
Monitor 1
: position = 1
Monitor 2 : position = 2
Monitor 3 : position = 3
Monitor 4 : position = 4 etc…
4. Controlling the monitors via the remote control:
How to
control the monitors with the remote control in a video wall:
There
are 2 possibilities:
[1] via RS232 daisy chain
Set the first
monitor on primary and the other monitors on secondary, this can be done in
“Advance option” menu, on the right select IR control and press OK on the RC,
on the right upper corner the monitor ID is displayed, with the arrow key left
and right the monitor ID to be controlled can be set.
Set the
monitor ID = 00 if you want to control all the monitors.
Note: The
first monitor will always respond to infra red commands.
How to reset the IR control: press on the RC
the info button for 7 secs.
[2] via IR daisy chain
Press [ID] button on the RC. The red LED blinks twice.
1. Press [ID SET]
button for more than 1 second to enter the ID Mode. The red LED lights up.
Press
the [ID SET] button again will exit the ID
Mode. The red LED lights off.
Press the
digit numbers [0] ~ [9] to select the display you want to control. For example:
press [0]
and [1] for
display No.1, press [1] and [1] for display No.11. The numbers available are
from [01] ~
[255].
2. Not pressing any
button within 10 seconds will exit the ID Mode.
3. If an
error pressing of buttons other than the digits occurred, wait 1 second after
the red LED lights
off and then lights up again, then press
the correct digits again.
4. Press
[ENTER] button to confirm. The red LED blinks twice and then lights off.
NOTE:
• Press
[NORMAL] button. The green LED blinks twice, indicating the display is in
normal operation.
5. Mechanical installation, Edge alignment kit (not present on all the
models)
Edge
alignment plates:


Edge
alignment pins (not present on all the models)
7. 4K
(UHD) input signal
4K60Hz can
be displayed on the entire video wall.
See below
picture, a 4K input will display 4K over the entire video wall, even it is a
2x2 or 6x6.
The 4K
input will be divided over the entire video wall

Via DP
input it is possible to obtain 4 different contents over 1 video cable, this is
called MST (multi stream), each monitor is FHD, max 4 monitors.
8. RS232 / TCP control
The
video wall monitors can be controlled via the TCP (network) or via RS232.
Via TCP you have 2 options:
[1]
Connect all the screens to the network and control them via their IP address.
Menu
setting:
Press the home button on the RC, select configuration
1, RS232 routing, set it to
RS232/LAN (this is the default value).
Do this for all the monitors.
The network settings of the monitors can be set
in the configuration 1 menu,
“NetworkSettings”.
Press the “info” button on the RC and press the
cursor down to read the IP addresses of the
Monitors.
The monitors don’t need to have a different
monitor ID ( since you control them via their IP address).

Instead
of using a switch you can also daisy chain the network, see below picture.

[2]
Connect the first monitor to the network and control the other screens via the
RS232
daisy chain.
Menu
setting:
Press the home button on the RC, select
configuration 1, RS232 routing, set it the first monitor to LAN >RS232, all
the other monitors to RS232.
The network settings of the first monitor can
be set in the configuration 1 menu,
“NetworkSettings”.

Via RS232 daisy chain, connect the first screen to your
RS232 device ( ex: Laptop) and control all the monitors via RS232. All the
monitors must have a different monitor ID.
Menu
setting:
Press the home button on the RC, select
configuration 1, RS232 routing, set it to
RS232 (this is the default value).
A DB9/female adaptor is delivered with the
monitor, insert a LAN cable in the adaptor and
the other side of the LAN cable must be
inserted in the Control IN ( RJ-45 connector) of the
monitor.
Connect the DB9(female) from the adaptor to
your RS232 input of your Device, see picture
below. No cross gender is needed.

9. Color calibration
The colors & the gamma are calibrated in the
factory on different areas per monitor.
We have a CCK4602 software version to calibrate the
colors on the Novatec videowall monitor.
Download the CMND & Calibrate version 1.0.18 or
higher.

11. Tips
Normally
an external HDMI, DVI or DP splitter is not needed for 9 monitors (without HDCP
content), if you have more than 9 monitors we recommend to install an active splitter.
Otherwise
you could have dropouts ( black screens).
Don’t
use a passive video cable longer then 5 meter from the player/PC to the first
monitor.
Office Use Only